В четверг, 28 февраля, компания Apple подала заявку на патент о подогреве дисплея, который вероятно получит будущий гибкий iPhone. Об этом сообщает Apple Insider со ссылкой на управлением по патентам и товарным знакам США.

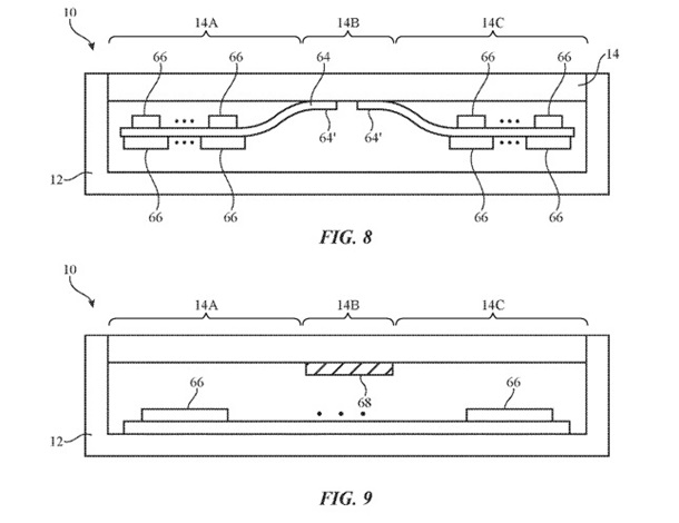
В тексте производитель iPhone отмечает, что низкие температуры могут быть проблемой для дисплеев. В то время, как при теплых температурах складные системы могут работать нормально. В условиях холода клеи и другие элементы устройства могут стать более уязвимыми. Это может вызвать нежелательный износ или повреждение дисплея при работе в таких условиях. Во избежание вредоносного воздействия Apple предлагает прогреть область панели дисплея, где происходит изгиб.

Отметим, iPhone 8 может получить изогнутый со всех сторон дисплей

Ранее мы сообщали, что у нового iPhone может появиться поддержка двух SIM-карт.

Также был информация, что iPhone 8 будет стеклянным и без проводов или складной и с гибким экраном.

Подпишитесь на телеграм-канал Политика Страны, чтобы получать ясную, понятную и быструю аналитику по политическим событиям в Украине.